The indoor termination is designed for screened three core polymeric insulated MV cables up to 35kV.
Yellow stress relief mastic is laid around the end of the screen cut. Stress control tube, together with stress relief mastic, is used to smooth out the electrical field at the cable screen end. All phase cores are covered with anti-tracking insulation tube and sealing tube. Anti-tracking rain sheds lengthen surface creepage distance to ensure safety. The crutch area is sealed and protected with an adhesive-coated breakout which is installed over the cores at the end of oversheath.

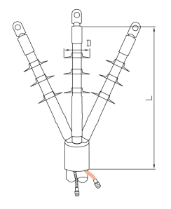
| Nominal voltage U0/U(Um) | Cross section (mm² ) | Kit No. | Dimensions(mm) | No. of rain sheds | |
| L | D | ||||
| 3.6 / 6(7.2)kV | 50-120 150-240 300-400 500 | 6kVRSNY-3/1 6kVRSNY-3/2 6kVRSNY-3/3 6kVRSNY-3/4 | 750 | ‒ | 0 |
| 6 / 10(12)kV 6.35 / 11(12)kV | 50-95 120-185 240-300 400-500 630 | 10kVRSNY-3/1 10kVRSNY-3/2 10kVRSNY-3/3 10kVRSNY-3/4 10kVRSNY-3/5 | 750 | ‒ | 0 |
| 8.7 / 15(17.5)kV | 25-50 70-120 150-240 300-400 500-630 | 10kVRSNY-3/1 10kVRSNY-3/2 10kVRSNY-3/3 10kVRSNY-3/4 10kVRSNY-3/5 | 750 | ‒ | 0 |
| 12 / 20(24)kV 12.7 / 22(24)kV | 35-50 70-120 150-240 300-400 500-630 | 20kVRSNY-3/1 20kVRSNY-3/2 20kVRSNY-3/3 20kVRSNY-3/4 20kVRSNY-3/5 | 900 | 105 105 105 140 140 | 6 |
| 18 / 30(36)kV 19 / 33(36)kV | 35-50 70-120 150-240 300-400 500-630 | 30kVRSNY-3/1 30kVRSNY-3/2 30kVRSNY-3/3 30kVRSNY-3/4 30kVRSNY-3/5 | 1100 | 105 105 140 140 140 | 12 |
| 20.8 / 36(42)kV 26 / 35(42)kV | 50 70-120 150-240 300-400 500-630 | 35kVRSNY-3/1 35kVRSNY-3/2 35kVRSNY-3/3 35kVRSNY-3/4 35kVRSNY-3/5 | 1100 | 140 140 140 140 140 | 12 |
Note:
1. Lugs need to be ordered separately.
2. RSNY-3 is for cables with copper wire screen without armour.
3. For cables with other construction, please order kits separately.
Remark: Above cross-section range selection is for reference, the final determination factor is the diameter over insulation.
Electrical Stress Control
Yellow stress relief mastic is laid around the end of the screen cut. Stress control tube, together with stress relief mastic, is used to smooth out the electrical field at the cable end.
Excellent Anti-tracking Properties
Anti-tracking insulation tubes and rain sheds demonstrate excellent tracking and erosion resistance. This protect WOER terminations from tracking even in severe service conditions.
Additional Creepage
Anti-tracking rain sheds lengthen surface creepage distance.
Moisture Sealing
Durable sealing is achieved by hot-melted adhesive inside the sealing tube and anti-tracking insulation tube. For 3-core cables, the crutch area is sealed and protected with an adhesive-coated breakout which is installed over the cores and the end of oversheath.
Earth Connection
Either soldering or solderless earth connection is available to connect metal screen or armour to ground. For cables with wire screen, copper wires are imbedded in the sealing mastic to prevent any corrosion and moisture sealing.